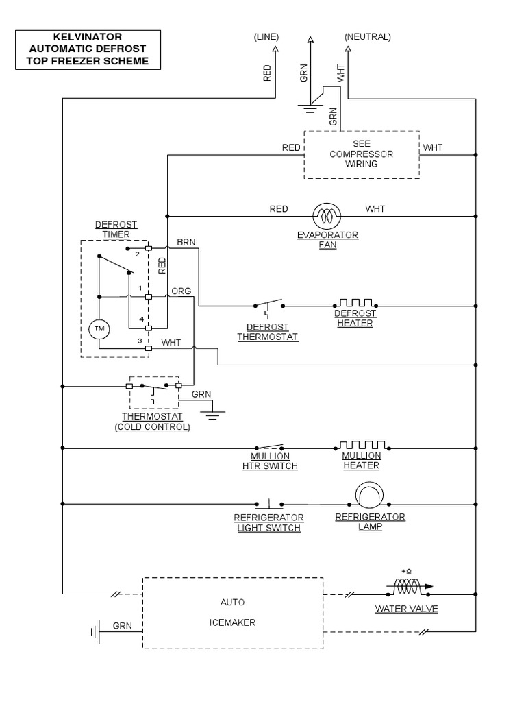
To read a wiring diagram initially you need to know just what essential aspects are consisted of in a wiring diagram and which pictorial symbols are made use of to represent them. Panasonic philippines offers a range of refrigerators from inverter refrigerators energy efficient freezers.
Relay Wiring Diagram On 12 Volt Rv Fuse Panel Wiring Free
Inverter refrigerator wiring diagram. View and download samsung rf4287hars service manual online. View and download kitchenaid ksbp25fkss00 technical education online. Ge stove wiring diagram collection. Rf4287hawp rf4287habp rf4287harsxaa rf4287hapnxaa rf4287hawpxaa rf4287habpxaa rf4287harsxac rf4287hapn. Rf4287hars refrigerator pdf manual download. If you cannot locate your wiring diagram you can call the appliances answer center with your complete model number.
Other manufacturers may have different test schemes but the idea is the same. Ksbp25fkss00 refrigerator pdf manual download. Ge refrigerator wiring schematic collections of ge refrigerator wiring diagram collection. Were tempted to try installing an inverter to run the norcold refrigerator on dc while driving in our winnebago adventurer. Take your pick now. Some window air conditioners dehumidifiers compact refrigerators and small countertop microwaves do not have wiring diagrams.
Whirlpool ice maker wiring diagram luxury excellent ge profile. On ge refrigerators for example the inverter will try to start the compressor 12 consecutive times. If the compressor fails to start the inverter will timeout for 8 minutes and then try again. Samsung refrigerator inverter board blinking 1time 2 time 3 time 5t samsung inverter fridge repair duration. Ksfs25fkbl00 ksfs25fkbt00 ksfs25fkwh00 ksbs25fkbl00 ksbs25fkbt00. Primax channel 117702 views.
If the inverter is working properly youll see activity on your amp. We have a couple of questions. You can reach us by dialing 1. The usual aspects in a wiring diagram are ground power supply cable as well as connection result tools buttons resistors reasoning gateway lights etc. I dont know the actual power consumption of the refrigerator on ac but the norcold schematic appears to show a 5 amp fuse in the ac heater circuit so it cant be over watts and there. 2001 k model counter depth side by side refrigerator with variable capacity compressor.
The diagram may be mailed or e mailed. Choose the fridge thats right for you. Ge refrigerator wiring diagram ice maker beautiful diagram ge.
















